首页
Python
Java
前端
数据库
Linux
Chatgpt专题
开发者工具箱
displayport专题
【INTEL(ALTERA)】为什么 F-Tile DisplayPort FPGA IP 设计示例无法通过高比特率 3 (HBR3) 的 RX 链路调训?
目录 说明 解决方法 说明 由于 Quartus® Prime Pro Edition 软件版本 v23.3 和 v23.4 生成的 F-Tile DisplayPort FPGA IP 设计示例中存在问题,您可能会在 HBR3 上观察到 RX 链路训练失败。 解决方法 要在这些软件版本中变通解决此问题,请使用以下 RxEQ 参数编辑项目 Quartus 设置文件 (.qsf)
阅读更多...
GSCoolink GSV6127 HDMI 2.0/DisplayPort 1.4到MIPI CSI-2嵌入式MCU混合转换器芯片
Gscoolink GSV6127是一款高性能、低功耗的HDMI 2.0/DisplayPort 1.4到MIPI CSI-2混合转换器。通过集成基于RISC-V的增强型微控制器,GSV6127创造了一种具有成本效益的解决方案,提供了上市时间优势。DisplayPort接收支持高达32.4Gbps(HBR3,4通道),HDMI接收和HDMI发送支持高达18Gbps(TMDS,6G/3Lane)。通
阅读更多...
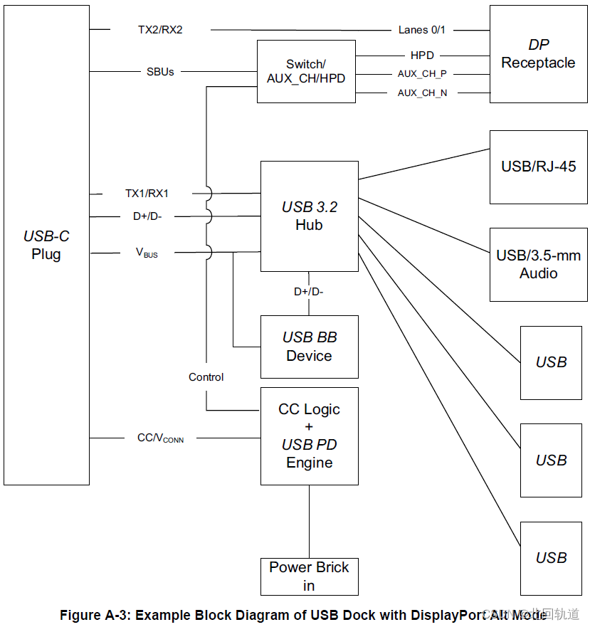
DisplayPort Alt Mode On Type-c协议_Ver2.0(学习笔记)
1.简介 USB-C(也就是Type-C)设想支持使用Type-C连接器和电缆的Alt Mode,其中各种Type-C连接器引脚可以重新配置,以支持超出Type-C范围的接口。 Type-C(以及它所利用的USB PD)提供了一个Discovery Process,用于发现连接的USB设备中对Alt Mode的支持,包括指定更改模式的方法,从而在Type-C连接器上使用Alt Mode。Typ
阅读更多...