本文主要是介绍FIsh论坛《零基础入门学习Python》| 第032讲 课后测试题及答案,希望对大家解决编程问题提供一定的参考价值,需要的开发者们随着小编来一起学习吧!
FIsh论坛《零基础入门学习Python》| 第032讲:异常处理:你不可能总是对的
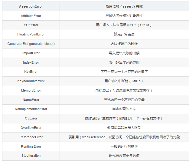
***Python标准异常总结***

0. 结合你自身的编程经验,总结下异常处理机制的重要性?
答:由于环境的不确定性和用户操作的不可以预知性都可能导致程序出现各种问题,因此异常机制最重要的无非就是:增强程序的健壮性和用户体验,尽可能的捕获所有预知的异常并写好处理的代码,当异常出现的时候,程序自动消化并恢复正常(不至于崩溃)。
- 请问以下代码是否会产生异常,如果会的话,请写出异常的名称:
my_list = [1, 2, 3, 4,,]
输出结果:
语法错误
SyntaxError: invalid syntax
2. 请问以下代码是否会产生异常,如果会的话,请写出异常的名称:
my_list = [1, 2, 3, 4, 5]
print(my_list[len(my_list)])
答:len(my_list) 是获得列表的长度,这里长度为5,该列表各个元素的访问索引号分别是:[0, 1, 2, 3, 4],因此试图访问 my_list(5) 会引发 IndexError: list index out of range 异常。
3. 请问以下代码是否会产生异常,如果会的话,请写出异常的名称:
my_list = [3, 5, 1, 4, 2]
my_list.sorted()
答:初学者容易疏忽的错误,列表的排序方法叫 list.sort(),sorted() 是BIF。因此会引发 AttributeError: ‘list’ object has no attribute ‘sorted’ 异常。
4. 请问以下代码是否会产生异常,如果会的话,请写出异常的名称:
my_dict = {'host': 'http://bbs.fishc.com', 'port': '80'}
print(my_dict['server'])
答:尝试访问字典中一个不存在的“键”引发 KeyError: ‘server’ 异常,为了避免这个异常发生,可以使用 dict.get() 方法:
5. 请问以下代码是否会产生异常,如果会的话,请写出异常的名称:
def my_fun(x, y):print(x, y)
my_fun(x=1, 2)
答:SyntaxError: positional argument follows keyword argument
解决:如果使用关键字参数的话,需要所有参数均使用关键字参数 my_fun(x=1, y=2),而且这里关键字参数位于位置参数前面。
6. 请问以下代码是否会产生异常,如果会的话,请写出异常的名称:
f = open('C:\\test.txt', wb)
f.write('I love FishC.com!\n')
f.close()
答:注意 open() 第二个参数是字符串,应该 f = open(‘C:\test.txt’, ‘wb’) 。wb不加双引号 Python 还以为是变量名呢,引发 NameError 异常。由于打开文件失败,接着下边一连串与 f 相关的均会报同样异常。
7.请问以下代码是否会产生异常,如果会的话,请写出异常的名称:
def my_fun1():x = 5def my_fun2():x *= xreturn xreturn my_fun2()
my_fun1()
答:闭包的知识大家还记得不? Python 认为在内部函数的 x 是局部变量的时候,外部函数的 x 就被屏蔽了起来,所以执行 x *= x 的时候,在右边根本就找不到局部变量 x 的值,因此报错。
在 Python3 之前没有直接的解决方案,只能间接地通过容器类型来存放,因为容器类型不是放在栈里,所以不会被“屏蔽”掉。容器类型这个词儿大家是不是似曾相识?我们之前介绍的字符串、列表、元祖,这些啥都可以往里的扔的就是容器类型啦。
def my_fun1():x = [5]def my_fun2():x[0] *= x[0]return x[0]return my_fun2()my_fun1()
但是到了 Python3 的世界里,又有了不少的改进,如果我们希望在内部函数里可以修改外部函数里的局部变量的值,那么也有一个关键字可以使用,就是 nonlocal:
def my_fun1():x = 5def my_fun2():nonlocal xx *= xreturn xreturn my_fun2()my_fun1()
这篇关于FIsh论坛《零基础入门学习Python》| 第032讲 课后测试题及答案的文章就介绍到这儿,希望我们推荐的文章对编程师们有所帮助!