完全“撞脸”今日头条,这家店火了!已被今日头条起诉商标侵权...

2024-03-22 04:18

本文主要是介绍完全“撞脸”今日头条,这家店火了!已被今日头条起诉商标侵权...,希望对大家解决编程问题提供一定的参考价值,需要的开发者们随着小编来一起学习吧!

你用过今日头条App,但你吃过今日油条吗?

近日,一家名为“今日油条”的店铺在网络上走红,根据网友晒出的图片,这家油条店从商标到装修、海报,都酷似App今日头条。还有类似今日头条的Slogan:“关心你的,才是好油条。”

▲图片来源于网络

连油条价目表的设计,都神似今日头条App的搜索界面。

不明真相的人,还真的会误以为今日头条开了油条店呢?

不得不说,这家店铺在碰瓷方面真的是有点东西,一看整个店铺,到处都是熟悉的配方。

细数下来,除了“撞脸”今日头条之外,今日油条在宣传方面还与其他企业有很多相似之处。比如大家熟知的广告词,“好空调,格力造”改为了“好油条,今日造”;早前IG夺冠,网上流传的“王思聪吃热狗图”也被改为“王思聪吃油条图”;一根I型油条+心形logo+U型油条的宣传图案,与西贝莜面村相似

所以,今日头条率先将该店铺背后公司告上了法庭。北京字节跳动科技有限公司因此申请行为保全(案由为商标权权属、侵权纠纷),被告方为河南今日油条餐饮管理有限公司、郑州市金水区今日油条早餐店、河南烧烤者食品有限公司。根据天眼查公布的资料显示,河南今日油条餐饮管理有限公司成立于2020年5月13日,注册资本100万元。

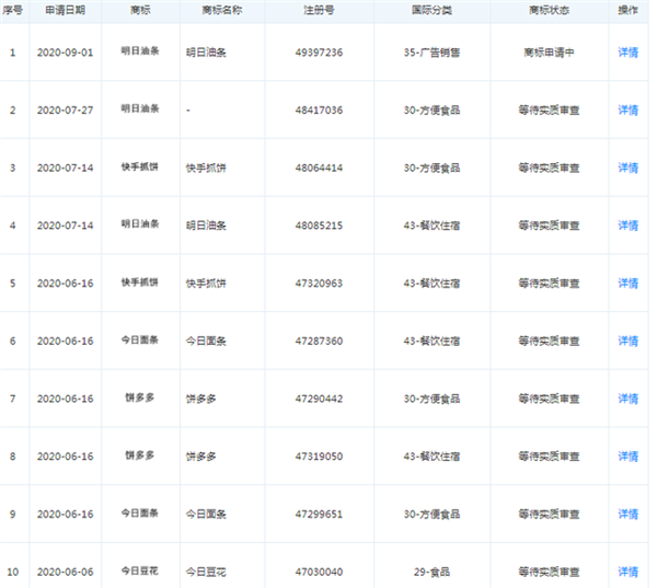
另外,这家神奇的公司除了用上今日油条这个名字,还申请注册了明日油条、今日豆浆、今日豆花、今日面条、饼多多、快手抓饼等商标,状态为注册申请中。

好家伙,互联网大厂都被蹭了个遍,这么想加入互联网行业的吗?

对于被今日头条起诉一事,今日油条有店员称,店铺仍正常营业,但对起诉表示不理解,“具体是哪个字不能用?”

还哪个字不能用,可能马上店名、slogan,菜单、装修海报都不能用了。。。

根据《反不正当竞争法》第六条规定,经营者不得实施下列混淆行为,引人误认为是他人商品或者与他人存在特定联系:

(一)擅自使用与他人有一定影响的商品名称、包装、装潢等相同或者近似的标识;(二)擅自使用他人有一定影响的企业名称(包括简称、字号等)、社会组织名称(包括简称等)、姓名(包括笔名、艺名、译名等);(三)擅自使用他人有一定影响的域名主体部分、网站名称、网页等;(四)其他足以引人误认为是他人商品或者与他人存在特定联系的混淆行为。

当然,今日油条是否侵权,有待法院作出裁判。

— 【 THE END 】—

往期精彩文章回顾:

成功蹭到iPhone 12热点,杜蕾斯再上热搜,关联公司却因小黄文广告被罚

iPhone 12发布当天,罗永浩开“旧机发布会”:香得不行!

| 全员5G!iPhone 12系列终于来了:没有阉割,售价依旧5499元起!

这篇关于完全“撞脸”今日头条,这家店火了!已被今日头条起诉商标侵权...的文章就介绍到这儿,希望我们推荐的文章对编程师们有所帮助!



http://www.chinasem.cn/article/834505

相关文章

全网最全Tomcat完全卸载重装教程小结

《全网最全Tomcat完全卸载重装教程小结》windows系统卸载Tomcat重新通过ZIP方式安装Tomcat,优点是灵活可控,适合开发者自定义配置,手动配置环境变量后,可通过命令行快速启动和管理... 目录一、完全卸载Tomcat1. 停止Tomcat服务2. 通过控制面板卸载3. 手动删除残留文件4.

Java JUC并发集合详解之线程安全容器完全攻略

《JavaJUC并发集合详解之线程安全容器完全攻略》Java通过java.util.concurrent(JUC)包提供了一整套线程安全的并发容器,它们不仅是简单的同步包装,更是基于精妙并发算法构建... 目录一、为什么需要JUC并发集合?二、核心并发集合分类与详解三、选型指南:如何选择合适的并发容器?在多

Python实现精确小数计算的完全指南

《Python实现精确小数计算的完全指南》在金融计算、科学实验和工程领域,浮点数精度问题一直是开发者面临的重大挑战,本文将深入解析Python精确小数计算技术体系,感兴趣的小伙伴可以了解一下... 目录引言:小数精度问题的核心挑战一、浮点数精度问题分析1.1 浮点数精度陷阱1.2 浮点数误差来源二、基础解决

从入门到精通详解Python虚拟环境完全指南

《从入门到精通详解Python虚拟环境完全指南》Python虚拟环境是一个独立的Python运行环境,它允许你为不同的项目创建隔离的Python环境,下面小编就来和大家详细介绍一下吧... 目录什么是python虚拟环境一、使用venv创建和管理虚拟环境1.1 创建虚拟环境1.2 激活虚拟环境1.3 验证虚

从基础到高级详解Python数值格式化输出的完全指南

《从基础到高级详解Python数值格式化输出的完全指南》在数据分析、金融计算和科学报告领域,数值格式化是提升可读性和专业性的关键技术,本文将深入解析Python中数值格式化输出的相关方法,感兴趣的小伙... 目录引言:数值格式化的核心价值一、基础格式化方法1.1 三种核心格式化方式对比1.2 基础格式化示例

Python ORM神器之SQLAlchemy基本使用完全指南

《PythonORM神器之SQLAlchemy基本使用完全指南》SQLAlchemy是Python主流ORM框架,通过对象化方式简化数据库操作,支持多数据库,提供引擎、会话、模型等核心组件,实现事务... 目录一、什么是SQLAlchemy?二、安装SQLAlchemy三、核心概念1. Engine(引擎)

MySQL 数据库表操作完全指南:创建、读取、更新与删除实战

《MySQL数据库表操作完全指南:创建、读取、更新与删除实战》本文系统讲解MySQL表的增删查改(CURD)操作,涵盖创建、更新、查询、删除及插入查询结果,也是贯穿各类项目开发全流程的基础数据交互原... 目录mysql系列前言一、Create(创建)并插入数据1.1 单行数据 + 全列插入1.2 多行数据

Python使用Reflex构建现代Web应用的完全指南

《Python使用Reflex构建现代Web应用的完全指南》这篇文章为大家深入介绍了Reflex框架的设计理念,技术特性,项目结构,核心API,实际开发流程以及与其他框架的对比和部署建议,感兴趣的小伙... 目录什么是 ReFlex?为什么选择 Reflex?安装与环境配置构建你的第一个应用核心概念解析组件

Python日期和时间完全指南与实战

《Python日期和时间完全指南与实战》在软件开发领域,‌日期时间处理‌是贯穿系统设计全生命周期的重要基础能力,本文将深入解析Python日期时间的‌七大核心模块‌,通过‌企业级代码案例‌揭示最佳实践... 目录一、背景与核心价值二、核心模块详解与实战2.1 datetime模块四剑客2.2 时区处理黄金法

Android NDK版本迭代与FFmpeg交叉编译完全指南

《AndroidNDK版本迭代与FFmpeg交叉编译完全指南》在Android开发中,使用NDK进行原生代码开发是一项常见需求,特别是当我们需要集成FFmpeg这样的多媒体处理库时,本文将深入分析A... 目录一、android NDK版本迭代分界线二、FFmpeg交叉编译关键注意事项三、完整编译脚本示例四