本文主要是介绍基于MATLAB内容CBIR的船舶检索技术[图像检索,以图搜图],希望对大家解决编程问题提供一定的参考价值,需要的开发者们随着小编来一起学习吧!
题目:基于内容CBIR的船舶检索技术
1、课题介绍
随着信息技术的不断发展,人们越来越依赖于计算机工作、生活,随之产生的数据量也呈指数级增长的趋势,因此,信息检索显得尤为重要。计算机中所存储的信息主要分为两大类:文本和图像,其中图像检索相较于文本检索更为复杂,因此如何更高效率、更快速地检索图像成为人们近年来研究的热点之一。其中的一种检索方法就是基于内容的图像检索技术(CBIR),它开始进入人们视线,目前,国内外对于CBIR的研究十分广泛,主要的研究方向就是进一步改进其技术及简化流程,力求开发出针对某一特定用户的特定系统,尽可能使CBIR多样化。研究本课题需要我们建立正确的科学思想,培养认真负责、实事求是的科学态度和严谨求实作风。《基于CBIR船舶检索研究》主要解决CBIR系统在船舶图片检索领域中的实际应用问题,并对其工作原理进行学习及分析。
基于内容的图像检索简单来说,就是图片检索图片,目前典型的CBIR系统包括:QBIC、Virage、Photobook等,这些系统的工作原理都是当用户将一幅图片呈现后,计算机通过提取图片中形状、颜色、纹理、文本等特征后,在数据库中进行对比,找出特征相似的图片,这样不仅能使检索结果更准确,还能利用计算机高度自动化、智能化的发展特点,避免了人工干预,减少了重复冗余的工作量。例如当我们进行船舶检索时,我们可以通过建立一个包括各种各样船舶种类的庞大数据库,并适当地对每张图片配以文本,这样当用户输入一张图片后,系统就会提取相应的特征进行分析,并从中选出类似的图片,这样大大减少了因输入的描述性文本错误而检索出不符合要求的船舶的可能性,提高了效率。
目前,国内外对于CBIR的研究十分广泛,主要研究方向是进一步改进其技术,力求开发出针对某一特定用户的特定系统,尽可能使CBIR多样化。其热点集中于以下几方面:图像低层特征提取和描述技术、基于区域的图像检索技术图像语义特征提取、相关反馈与机器学习结合技术、高维索引技术等。倘若我们能克服以上形状提取和结构提取的难点,CBIR技术就会走向成熟。这与人类的大脑相类似,图像检索过程相当于是一个再认识过程,计算机通过分析图像内容,进行自我学习,一旦数据达到一定量后,机器的智能程度也会显著提高,这是一个良性循环,因此,CBIR技术有广阔的发展前景。
对此,我想用以下方法实现基于CBIR的船舶检索研究:通过Matlab编程的方式,实现一个本地检索系统。这需要我们建立起一个本地数据库,然后通过对图像数据的特征提取,建立数据文档。实现图片数据库的建立十分简单,只需事先从网络上下载大量的船舶图片,并与之和Matlab相结合,通过dataset这一功能将图像数据转为文本数据,通过对目标图像的HSV特征提取颜色,通过Gabor滤波器和小波变换进行纹理提取,在数据库中进行相似度比对,最终选择出相似的图片。
2、GUI设计图

3、基于内容的图像检索
随着越来越多的人使用计算机,图像检索也成为人们使用过程中经常使用、必不可少的一环,当我们面对着庞大的数据资料,我们也在思考,如何快速而又准确地寻找我所需要的资料。因此,搜索引擎应运而生。早期,我们只能通过文本描述来搜索,但随着信息技术的快速发展,图片搜索图片这一功能也逐渐成熟,这就是基于内容的图像检索技术(CBIR)。
2.1CBIR原理
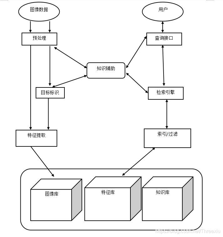
基于内容的图像检索,即CBIR系统主要分为两部分,一个是特征提取,另一个是查询。当用户通过查询接口,放入想要检索的图片时,查询接口通过检索引擎,对信息进行索引、过滤,在将所得数据提交给查询子系统中的知识库、特征库和图像数据库,通过知识辅助,将它和特征提取子系统连接。其中,特征提取子系统包括对图像数据进行预处理,利用系统中的算法对图像分别进行特征提取和目标识别,连接本地图像数据库和相应的图像特征库,并将所得数据反馈给查询子系统,在通过查询接口呈现在用户面前[1]。我们可以用流程图表示常见的CBIR工作原理,见下页图1-1所示。
图1-1表示的是常用的CBIR系统所使用的原理结构,但一个理想的CBIR系统往往并未采用以上方法,而是将用户接口直接放在特征提取的前端,将特征提取和图像数据连接在搜索引擎的两端,同时将查询图片的特征值输入搜索引擎,这样三者结合,产生检索结果,若出现相关性错误,则将自动返回用户端的特征提取系统,重新进行图像检索[11],这种过程方法可以用流程图来表示,如下页图1-2所示。
2.2特征提取
特征提取是实现CBIR系统的最最基本的一部分,同时也是整个系统中最关键的一个步骤,它不可或缺。特征提取算法的优劣可以影响整个系统性能的高低,因此至关重要。特征提取主要分为:颜色提取、纹理提取、形状提取、空间提取和语义提取[2]。接下来本人就一一简单介绍各自的功能。
颜色提取是基于CBIR的图像检索系统中最常用,也较为方便的一种特征提取方法,因为颜色是最广泛,最直观的视觉特征之一,人们看一副图片的时候,第一印象就是其色调,因此颜色提取较为容易。本文《基于CBIR的船舶检索研究》就将使用颜色这一最显著的特征,通过分析各种图片的HSV颜色空间来实现特征提取。

图1-1常见CBIR原理

图1-2理想CBIR原理
纹理提取是图像最重要的特征之一,纹理特征提取的本质就是是描述并计算某一特定像素周边固定范围内的灰度空间的分布规律。当我们看一幅画时,除了颜色外,纹理也十分直观生动,究竟这幅画想要表达什么意思,通过纹理分析即可了解。其中本文采用空间和频域结合的分析方法,这是实现船舶检索的基本方法之一
形状提取,顾名思义,就是系统根据特定算法识别图像中主要物体的形状、轮廓,并进行分析,与数据库中已存在的图像进行对比,但对于船舶检索来说,各艘船的形状几乎都一致,因此这种特征提取的方法似乎在本研究课题上没有太多利用价值,因此不予考虑。
空间提取是指图像中多个物体间的位置关系,当一幅图中存在许多物体时,空间提取算法的效率高低决定了图像检索的准确率。但对于船舶检索来说,一幅图中所包含的物体主要只有一个–船舶,因此空间提取在单个物体的图像检索领域同样并没有太多作用。
下载连接:https://download.csdn.net/download/Threexiu/15854960
语义提取相对于前四种提取来说,更上了一个层次。语义提取作为一种高级的特征提取方法,需要给每幅图像赋予含义,用户根据图像及所描述的含义进行检索,这就需要在掌握低层特征的基础上,让计算机进行对图像含义的自我学习。因此这种检索方式相对较为复杂。
综上所述,《基于CBIR的船舶检索研究》将主要利用颜色提取和纹理提取,对用户所需检索的图像进行特征提取,然后与后台已知的图像数据库中每幅图像对应的特征信息进行匹配,将最为相似的图像呈现在用户面前。为了实现这一目的,笔者需要创建一个本地的船舶图像数据库,通过程序实现一个简单的图片搜索图片,即CBIR图像检索系统。
4未来展望
基于内容的图像检索有很广阔的发展空间,在当今世界,图像检索无处不在。小到个人图片搜索,比如船舶检索等等,大到人脸识别,用于协助警方工作等,其实也是一种变形的图像检索。因此我认为在未来,随着计算机科技技术的进一步发展,图像检索功能,特别是船舶图像检索也一定能有更大的市场。
船舶作为航运的运输工具,具有很重要的意义,在未来,我认为船舶图像检索可以做如下应用:当用户输入一幅船舶相关图片后,我们可以通过后台庞大的数据库准确搜索出这是哪艘船舶,名字、国籍、用途等都显示出来,并且能通过与实时航运信息的数据库相关联,准确反映出目前该船舶在哪里,准备何时出发,将要到哪去,装了哪些货物,船长是谁等等。这一功能可能和目前已经相当成熟的实时航班轨迹相似,只是目前普通百姓很少关注实时船舶轨迹这种信息。因此,将这一领域发展起来在我眼中是有前途的。
这篇关于基于MATLAB内容CBIR的船舶检索技术[图像检索,以图搜图]的文章就介绍到这儿,希望我们推荐的文章对编程师们有所帮助!