本文主要是介绍PCIE系统标准体系结构解读(六):ACK/NAK 协议,希望对大家解决编程问题提供一定的参考价值,需要的开发者们随着小编来一起学习吧!
主要解释如何使用ACK DLLP来确认TLP的接收,如何使用NAK DLLP表示接收的TLP有错误,以及重发TLP的规则。


1.6.1 ACK/NAK协议的基本组成

1.6.2 ACK/NAK协议中发送器的基本组成
下图举例说明了与出站TLP和入站ACK/NAK DLLP的处理有关的发送器数据链路层基本组成。

1.6.2.1 重放缓冲区
重放缓冲区存储TLP的所有字段,包括与数据链路层相关的序列号和LCRC字段。在发送之前,TLP一直按照从处理层传送过来的顺序存储。重放缓冲区中每个TLP都含有一个序列号,该序列号比保存在缓冲区中的前一个TLP包的序列号递增1。
当发送器收到一个由ACK DLLP表示的TLP已经成功抵达接收器的确认时,它就会清除缓冲区中的这些TLP。另一方面,如果收到一个NAK DLLP,它就会重发缓冲区中的内容。
1.6.2.2 NEXT_TRANSMIT_SEQ计数器
该计数器为每个将发送的新TLP生成所分配的序列号。该计数器为12比特的计数器,在复位或数据链路层处于非活动状态时,将它初始化为0。它的计数值可以一直递增到4095,然后反转回到0。
1.6.2.3 LCRC生成器
LCRC生成器为TLP数据包提供32比特的LCRC。此LCRC使用TLP的所有字段,包括头、数据有效载荷、ECRC和序列号计算出来的。接收器使用TLP的LCRC字段检查收到的TLP中的CRC错误。
1.6.2.4 REPLAY_NUM计数器
这个2比特的计数器保存因收到NAK DLLP或REPLAY_TIMER超时而尝试重发的次数。当REPLAY_NUM计数器的计数值从11b翻转回00b时,数据链路层会触发一次物理层的链路重新定向。它回等到重新定向结束之后,再次尝试重发TLP。REPLAY_NUM计数器在复位或数据链路层处于非活动状态时被初始化为00b。无论何时收到ACK,也会将其复位,表示正发送的TLP正在进行转发。
1.6.2.5 REPLAY_TIMER
REPLAY_TIMER用来度量从发出TLP到收到对应的ACK或NAK DLLP的时间。在发送任意TLP的最后一个字符时,REPLAY_TIMER开始计时。每次当重放缓冲区中有未完成的TLP且收到的ACK DLLP涉及一个仍在重放缓冲区中的TLP时,REPLAY_TIMER从0开始重新计时。当重放缓冲区中没有未完成的TLP时,或者收到的每个NAK满足重启条件,或者当REPLAY_TIMER计时已满时,REPLAY_TIMER重新复位到0并保持。在重新定向期间,REPLAY_TIMER不再计数。
1.6.2.6 ACKD_SEQ计数器
12比特的寄存器跟踪或保存最近收到的ACK或NAK DLLP的序列号。在复位或数据链路层不活动时,它被初始化为全1。这一寄存器要用收到的ACK或NAK DLLP中的AckNak_Seq_Num字段来更新,并将ACKD_SEQ计数与NEXT_TRANSMIT_SEQ计数进行比较。
如果(NEXT_TRANSMIT_SEQ - ACKD_SEQ)除以4096的余数大于等于2048,则数据链路层不再接收来自处理层的新TLP,直到此不等式不再成立。另外,报告发现一个致命的、无法修正的数据链路层协议错误。如果NEXT_TRANSMIT_SEQ和ACKD_SEQ之间的间隔大于2047,这种错误就会发生。
ACKD_SEQ计数也可以用来检查正在发送的TLP否认转发进度。如果经过3次额外的重发尝试之后,转发进度没有变化,那么要重新定向链路。
1.6.2.7 DLLP CRC检查
这一部件能够检查接收器返回的DLLP中的CRC错误。对完好的DLLP做进一步处理。如果检测到DLLP CRC错误,则丢弃该DLLP并报告错误,不再采取进一步的行动。
定义:当物理层报告链路不能使用或没有设备连接到端口时,数据链路层处于非活动状态。当链路定向和状况状态机(Link Training and Status state machine,LTSSM)处于Link-Up = 0的检测(Detect)、轮询(Polling)、配置(Configuration)、复位(Reset)或回环(LoopBack)状态时,物理层处于不能使用状态。当数据链路层处于非活动状态时,将数据链路层状态机初始化为默认值并将重放缓冲区清空。当物理层报告Link-Up=1并且链路控制寄存器中的链路禁用(Link Disable)比特等于0时,数据链路层退出非活动状态。
1.6.3 ACK/NAK协议中接收器的基本组成
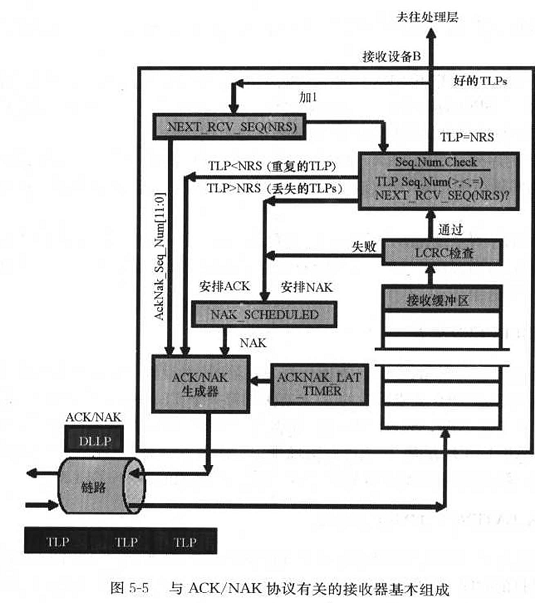
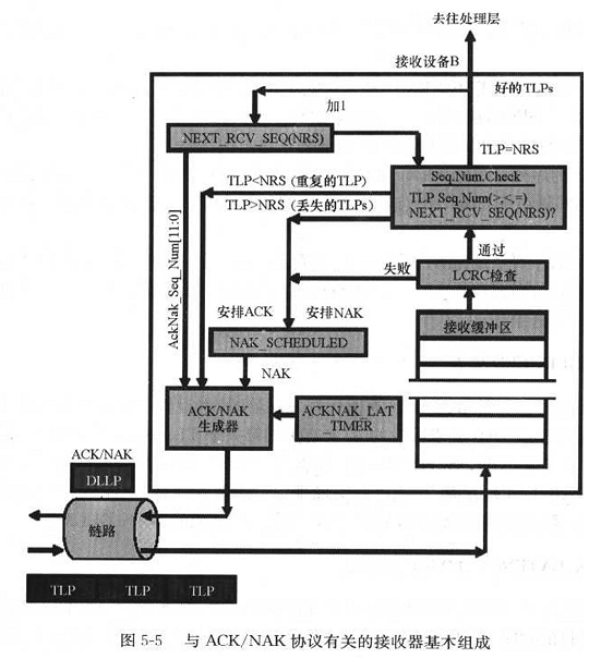
下图展示了与进站TLP和出站ACK/NAK DLLP处理有关的接收器数据链路层的基本组成。

1.6.3.1 接收缓冲区
在进行TLP CRC和序列号检查时,接收缓冲区临时存放接收的TLP。如果没有错误,TLP会被处理并且发送至接收器的处理层。如果有和TLP相关的错误,则丢弃该TLP并且安排一个NAK DLLP。如果此TLP是重复的TLP,则丢弃该TLP并且安排一个ACK TLLP。如果该TLP是一个无效的TLP,则丢弃它并且不再采取进一步的行动。
1.6.3.2 LCRC错误检查
使用TLP的32比特LCRC字段来检查收到的TLP中的LCRC错误。
1.6.3.3 NEXT_RCV_SEQ计数器
12比特的NEXT_RCV_SEQ计数器跟踪预计的下一个TLP的序列号。复位或数据链路层处于非活动状态时,将此计数器初始化为0.对接收到的每个转发至处理层的、完好的TLP,此计数器自动加1。当计数器的值达到4095时,计数器翻转回0。当接收到的TLP有CRC错误、或是无效的TLP、或是序列号不正确的TLP时,计数器的值不变。
1.6.3.4 序列号检查
CRC错误检查后,这一部件验证收到的TLP的序列号与NEXT_RCV_SEQ计数器的值是否匹配。
如果TLP的序列号等于NEXT_RCV_SEQ计数器的值,则接收、处理并且转发该TLP至处理层。NEXT_RCV_SEQ的值加1。接收器继续处理入站的TLP,在ACKNAK_LATENCY_TIMER没有计满或超出其设置值之前,接收器不必翻译ACK DLLP。
如果TLP的序列号是比NEXT_RCV_SEQ的值早的一个序列号,并且与NEXT_RCV_SEQ值之间的间隔小于2048,那么该TLP为一重复的TLP。丢弃它并安排一个ACK DLLP返回发送器。
如果TLP的序列号是比NEXT_RCV_SEQ值晚的一个序列号,或者任何其他不同于以上两种情况的情况,则丢弃该TLP,并可能安排一个NAK DLLP返回发送器。
1.6.3.5 NEXT_SCHEDULED标志
当接收器安排一个NAK DLLP返回远程发送器时,将设置NAK_SCHEDULED标志。当接收器见到与之前NAK要求重发的TLP有关的第一个TLP时,它将清除NAK_SCHEDULED标志。对于在NAK_SCHEDULED标志置位期间收到的坏TLP,接收器是否应该设计另外一个NAK DLLP方面,规范没有明确规定。
1.6.3.6 ACKNAK_LATENCY_TIMER定时器
ACKNAK_LATENCY_TIMER监控从安排最后一个ACK或NAK DLLP返回远程发送器开始所经历的时间。接收器接收器使用此定时器确保当定时器期满或超出其设定值时,它能够迅速处理TLP并返回一个ACK或NAK DLLP。
1.6.3.7 ACK/NAK DLLP生成器
这一部件根据LCRC或序列号校验部分的命令生成ACK或NAK DLLP。ACK或NAK DLLP包含一个由NEXT_RCV_SEQ计数器获得的AckNak_Seq_Num[11:0]字段。ACK或NAK DLLP含有的AckNak_Seq_Num[11:0]的值等于NEXT_RCV_SEQ的值减1。
1.6.4 ACK/NAK DLLP的格式
下图展示了一个ACK或NAK的DLLP的格式。

| 字段名 | 头字节/比特 | DLLP的功能 |
| AckNak_Seq_Num[11:0] | 字节3的比特7:0 字节2的比特3:0 | 对于ACK DLLP:对于接受的序列号等于早于NEXT_RCV_SEQ计数值的TLP,使用NEXT_RCV_SEQ-1 对于NAK DLLP:与CRC校验失败有关的TLP,使用NEXT_RCV_SEQ-1;对于接收的序列号晚于NEXT_RCV_SEQ计数值的TLP,使用NEXT_RCV_SEQ-1 |
| 类型[7:0] | 字节0的比特7:0 | 指出DLLP的类型,对于Ack/Nak DLLP: 0000 0000b = ACK DLLP 0001 0000b = NAK DLLP |
| 16比特的CRC | 字节5的比特7:0 字节4的比特7:0 | 用来保护DLLP内容的16比特CRC,根据ACK/NAK的字节0~3的内容计算的 |
这篇关于PCIE系统标准体系结构解读(六):ACK/NAK 协议的文章就介绍到这儿,希望我们推荐的文章对编程师们有所帮助!